TQ8X00 InfiniBand Switch Systems Quick Installation Guide

Installation and Configuration

#

Illustration

1

Attach parts D and E (x2 of each) to the switch. Push the switch chassis’ pins through the slider key holes, until locking occurs. Pay attention to the rack’s type.

Short racks (430-800mm):

image2022-3-9_9-23-33.png

Standard racks (580-800mm):

image2022-3-9_9-27-34.png

2

Short racks:

image2022-3-9_9-56-33.png

Standard racks:

image2022-3-9_10-8-44.png

3

Install 8 cage nuts (b) in the desired 1u slots of the rack.

image2022-3-9_10-10-10.png

4

Do not tighten the screws yet.

image2022-3-9_10-11-48.png

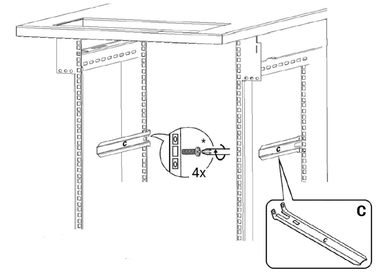
5

image2022-3-9_10-12-59.png

6

Tighten all M6 (C) screws with a torque of 4.5±0.5.

image2022-3-9_10-14-9.png

* It may take up to five minutes to turn on the system. If the System Status LED shows red/amber after five minutes, unplug the system and contact your NVIDIA representative.

LED Assignments

Symbol

Description

Normal Status

image2022-2-28_13-58-49.png

System health

Green/Flashing

image2022-2-28_13-59-22.png

Fan health

Green

image2022-2-28_14-0-26.png

Power supply health

Green

image2022-2-28_14-1-2.png

Bad port detected

Off

image2022-2-28_14-3-4.png

Identifier LED

Off/Blue

image2022-2-28_14-3-22.png

Reset button


  1. Connect the host PC to the Console (RJ-45) port.

  2. Configure a serial terminal program.

    Parameter

    Settings

    Baud rate

    115200

    Data bits

    8

    Stop bits

    1

    Parity

    None

    Flow control

    None

  3. Login:

    OS

    Username

    Password

    Onyx (MLNX-OS)

    admin

    admin

  4. Initial configuration in Onyx (MLNX-OS): Go through the configuration wizard. For further information, please refer to: https://docs.nvidia.com/networking/category/mlnxos.

For full installation instructions, go to https://docs.nvidia.com/networking/category/switchen.

© Copyright 2025, NVIDIA. Last updated on Apr 17, 2025.